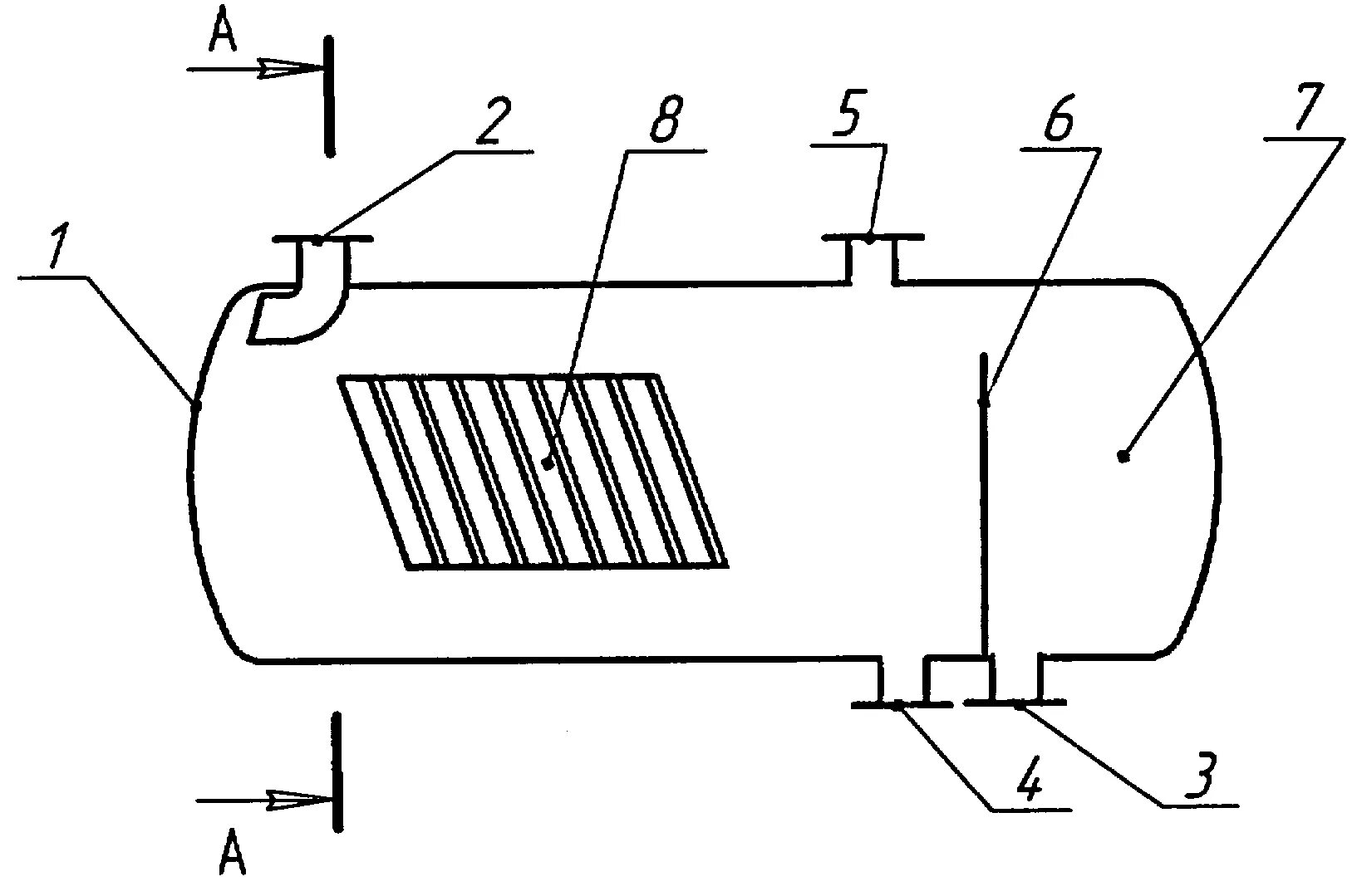
Двухфазный сепаратор

Трехфазный сепаратор нгсв. Двухфазный горизонтальный сепаратор. Трехфазный сепаратор тфс. Горизонтальный трехфазный сепаратор. Сепаратор нефтегазовый нгсв 200.
Трехфазный сепаратор нгсв. Двухфазный горизонтальный сепаратор. Трехфазный сепаратор тфс. Горизонтальный трехфазный сепаратор. Сепаратор нефтегазовый нгсв 200.
Горизонтальный газонефтяной сепаратор схема. Нефтегазовый сепаратор схема. Трехфазный сепаратор тфс. Двухфазный сепаратор. Сепаратор трехфазный тфс-1.
Горизонтальный газонефтяной сепаратор схема. Нефтегазовый сепаратор схема. Трехфазный сепаратор тфс. Двухфазный сепаратор. Сепаратор трехфазный тфс-1.
Сепаратор факельный фс-1000. Двухфазный сепаратор. Двухфазный сепаратор. Сепаратор нефтегазовый нгс 1-1,0-2000-2и. Горизонтальный сепаратор нефти и газа схема.
Сепаратор факельный фс-1000. Двухфазный сепаратор. Двухфазный сепаратор. Сепаратор нефтегазовый нгс 1-1,0-2000-2и. Горизонтальный сепаратор нефти и газа схема.
Нефтегазовый сепаратор схема. Трехфазный сепаратор нефти схема. Двухфазный сепаратор. Газовый сепаратор вертикальный 2400. Двухфазный сепаратор.
Нефтегазовый сепаратор схема. Трехфазный сепаратор нефти схема. Двухфазный сепаратор. Газовый сепаратор вертикальный 2400. Двухфазный сепаратор.
Вертикальный гравитационный сепаратор нефти. Трехфазный сепаратор нгсв. Двухфазный сепаратор. Трехфазный сепаратор нефти схема. Двухфазный горизонтальный сепаратор.
Вертикальный гравитационный сепаратор нефти. Трехфазный сепаратор нгсв. Двухфазный сепаратор. Трехфазный сепаратор нефти схема. Двухфазный горизонтальный сепаратор.
Газосепаратор горизонтальный 50 м3. Сепаратор нефтегазовый нгсв 200. Сепаратор трехфазный тфс-1. Сепаратор нефтегазовый нгсв 200. Двухфазный вертикальный сепаратор нефти.
Газосепаратор горизонтальный 50 м3. Сепаратор нефтегазовый нгсв 200. Сепаратор трехфазный тфс-1. Сепаратор нефтегазовый нгсв 200. Двухфазный вертикальный сепаратор нефти.
Сепаратор нефтегазовый нгсв 200. Двухфазный сепаратор. Двухфазный сепаратор. Двухфазный сепаратор. Сепаратор нефтегазовый 50м3.
Сепаратор нефтегазовый нгсв 200. Двухфазный сепаратор. Двухфазный сепаратор. Двухфазный сепаратор. Сепаратор нефтегазовый 50м3.
Двухфазный сепаратор. Двухфазный горизонтальный сепаратор. Принцип работы трехфазного сепаратора. Сепаратор нефтегазовый нгсв 200. Горизонтальный газонефтяной сепаратор.
Двухфазный сепаратор. Двухфазный горизонтальный сепаратор. Принцип работы трехфазного сепаратора. Сепаратор нефтегазовый нгсв 200. Горизонтальный газонефтяной сепаратор.
Трехфазный сепаратор нгсв. Устройство трехфазного сепаратора нефти. Двухфазный сепаратор. Газосепаратор вертикальный 10 м3. Сепаратор нефтегазовый нгсв 200.
Трехфазный сепаратор нгсв. Устройство трехфазного сепаратора нефти. Двухфазный сепаратор. Газосепаратор вертикальный 10 м3. Сепаратор нефтегазовый нгсв 200.
Трехфазный сепаратор нгсв. Трехфазный сепаратор нгсв. Двухфазный сепаратор. Двухфазный сепаратор нефти. Схема вертикального газонефтяного сепаратора.
Трехфазный сепаратор нгсв. Трехфазный сепаратор нгсв. Двухфазный сепаратор. Двухфазный сепаратор нефти. Схема вертикального газонефтяного сепаратора.
Горизонтальный газонефтяной сепаратор. Сепаратор нефтегазовый нгсв 200. Двухфазный горизонтальный сепаратор. Двухфазный сепаратор. Сепаратор трехфазный тфс-1.
Горизонтальный газонефтяной сепаратор. Сепаратор нефтегазовый нгсв 200. Двухфазный горизонтальный сепаратор. Двухфазный сепаратор. Сепаратор трехфазный тфс-1.
Трехфазный сепаратор нгсв. Сепаратор трехфазный тфс-1. Двухфазный сепаратор. Трехфазный сепаратор нгс. Сепаратор 3 фазный газовый.
Трехфазный сепаратор нгсв. Сепаратор трехфазный тфс-1. Двухфазный сепаратор. Трехфазный сепаратор нгс. Сепаратор 3 фазный газовый.
Сепаратор нефтегазовый нгсв 200. Двухфазный сепаратор. Сепаратор нефтегазовый нгсв 200 чертеж. Сепаратор нефтегазовый нгсв 200. Горизонтальный сепаратор нефти схема.
Сепаратор нефтегазовый нгсв 200. Двухфазный сепаратор. Сепаратор нефтегазовый нгсв 200 чертеж. Сепаратор нефтегазовый нгсв 200. Горизонтальный сепаратор нефти схема.
Трехфазный сепаратор нефти схема. Отстойник ог-200. Сепаратор нгсв-1,0-3400-2-т-и. Горизонтальный трехфазный сепаратор. Двухфазный горизонтальный сепаратор.
Трехфазный сепаратор нефти схема. Отстойник ог-200. Сепаратор нгсв-1,0-3400-2-т-и. Горизонтальный трехфазный сепаратор. Двухфазный горизонтальный сепаратор.
Двухфазный сепаратор. Горизонтальный газонефтяной сепаратор схема. Двухфазный сепаратор. Горизонтальный газонефтяной сепаратор. Сепаратор льяльных вод схема.
Двухфазный сепаратор. Горизонтальный газонефтяной сепаратор схема. Двухфазный сепаратор. Горизонтальный газонефтяной сепаратор. Сепаратор льяльных вод схема.
Двухфазный горизонтальный сепаратор. Сепаратор нефтегазовый нгсв 200. Трехфазный сепаратор чертеж. Двухфазный сепаратор. Сепаратор нгсв 100 чертеж.
Двухфазный горизонтальный сепаратор. Сепаратор нефтегазовый нгсв 200. Трехфазный сепаратор чертеж. Двухфазный сепаратор. Сепаратор нгсв 100 чертеж.
Трехфазный сепаратор тфс. Трехфазный сепаратор нгсв. Двухфазный горизонтальный сепаратор. Трехфазный сепаратор нгсв. Сепаратор нгсв-1,0-3400-2-т-и.
Трехфазный сепаратор тфс. Трехфазный сепаратор нгсв. Двухфазный горизонтальный сепаратор. Трехфазный сепаратор нгсв. Сепаратор нгсв-1,0-3400-2-т-и.
Трехфазный сепаратор нгсв. Трехфазный сепаратор с отстойником. Факельный сепаратор фс-1. Горизонтальный сепаратор нефти схема. Двухфазный сепаратор.
Трехфазный сепаратор нгсв. Трехфазный сепаратор с отстойником. Факельный сепаратор фс-1. Горизонтальный сепаратор нефти схема. Двухфазный сепаратор.
Газосепаратор сетчатый типа гс-1. Двухфазный вертикальный сепаратор нефти. Сепаратор нефтегазовый нгсв 200. Вертикальный газонефтяной сепаратор. Двухфазный сепаратор.
Газосепаратор сетчатый типа гс-1. Двухфазный вертикальный сепаратор нефти. Сепаратор нефтегазовый нгсв 200. Вертикальный газонефтяной сепаратор. Двухфазный сепаратор.
Сепаратор нефтегазовый нгсв 200. Двухфазный сепаратор. Сепаратор нефтегазовый нгсв 200. Сепаратор нефтегазовый нгсв 200. Горизонтальный трехфазный сепаратор.
Сепаратор нефтегазовый нгсв 200. Двухфазный сепаратор. Сепаратор нефтегазовый нгсв 200. Сепаратор нефтегазовый нгсв 200. Горизонтальный трехфазный сепаратор.