Принцип работы экскаватора

Принцип работы экскаватора. Гидравлическая схема гусеничного одноковшового экскаватора. Рабочий цикл экскаватора с обратной лопатой. Гидравлическую схема одноковшового экскаватора. Принцип работы экскаватора.
Принцип работы экскаватора. Гидравлическая схема гусеничного одноковшового экскаватора. Рабочий цикл экскаватора с обратной лопатой. Гидравлическую схема одноковшового экскаватора. Принцип работы экскаватора.
Гидравлический экскаватор из шприцов чертёж. Схема полноповоротного одноковшовые экскаватора. Экскаватор гидропривод управления ковшом схема. Драглайн экскаватор 8200. Экскаватор с гидравлическим приводом.
Гидравлический экскаватор из шприцов чертёж. Схема полноповоротного одноковшовые экскаватора. Экскаватор гидропривод управления ковшом схема. Драглайн экскаватор 8200. Экскаватор с гидравлическим приводом.
5 куба. Эо 4121 схема. Экскаватор обратная лопата эо 5122. Принцип работы экскаватора. Гидравлическая схема гусеничного одноковшового экскаватора.
5 куба. Эо 4121 схема. Экскаватор обратная лопата эо 5122. Принцип работы экскаватора. Гидравлическая схема гусеничного одноковшового экскаватора.
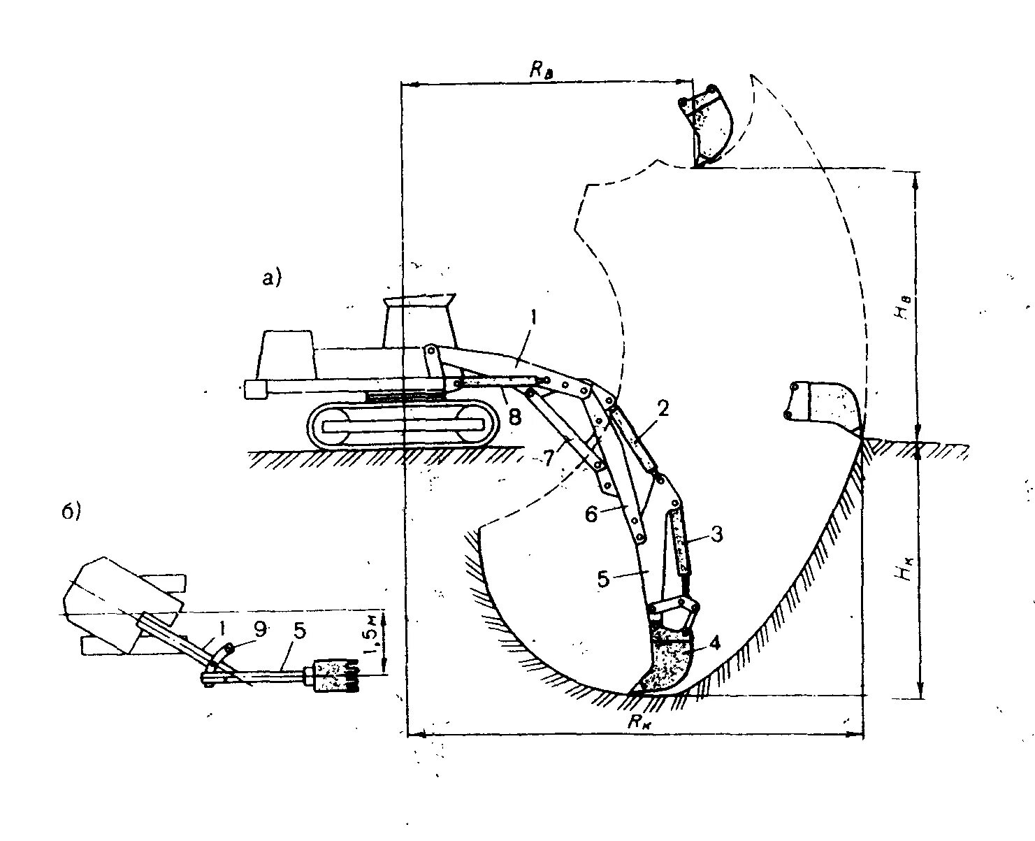
Экскаватором эо-4121 с ковшом, «обратная лопата». Экскаватор одноковшовый гидравлическим 2. Основные элементы схемы гидравлической системы экскаватора. Схема одноковшового экскаватора с гидравлическим приводом. Гидравлический привод экскаватора схема.
Экскаватором эо-4121 с ковшом, «обратная лопата». Экскаватор одноковшовый гидравлическим 2. Основные элементы схемы гидравлической системы экскаватора. Схема одноковшового экскаватора с гидравлическим приводом. Гидравлический привод экскаватора схема.
Полноповоротный гидравлический экскаватор схема. Принцип работы экскаватора. Экскаватор эо-5122 схема. Принцип работы экскаватора. Эо-5111б канатный экскаватор чертеж.
Полноповоротный гидравлический экскаватор схема. Принцип работы экскаватора. Экскаватор эо-5122 схема. Принцип работы экскаватора. Эо-5111б канатный экскаватор чертеж.
Основное рабочее оборудование одноковшового экскаватора. Принцип работы ковша экскаватора. Схема одноковшового экскаватора с гидравлическим приводом. Экскаватор эо 3122 чертеж. Гидравлическая схема гусеничного экскаватора.
Основное рабочее оборудование одноковшового экскаватора. Принцип работы ковша экскаватора. Схема одноковшового экскаватора с гидравлическим приводом. Экскаватор эо 3122 чертеж. Гидравлическая схема гусеничного экскаватора.
Гидравлическая схема гусеничного одноковшового экскаватора. Принцип работы экскаватора. Эо-3127а экскаватор обратная лопата. Эо-4121 прямая лопата рабочие параметры. Экскаватор прямая лопата э10011 автокад.
Гидравлическая схема гусеничного одноковшового экскаватора. Принцип работы экскаватора. Эо-3127а экскаватор обратная лопата. Эо-4121 прямая лопата рабочие параметры. Экскаватор прямая лопата э10011 автокад.
Чертеж экскаватора эо 5122. Экскаватор обратная лопата эо-3311б. Схема неполноповоротного экскаватора на шасси колесного трактора. Принцип работы экскаватора. Схема полноповоротного одноковшовые экскаватора.
Чертеж экскаватора эо 5122. Экскаватор обратная лопата эо-3311б. Схема неполноповоротного экскаватора на шасси колесного трактора. Принцип работы экскаватора. Схема полноповоротного одноковшовые экскаватора.
Экскаватор эо-3123 схема. Принципиальная схема экскаватора с гидравлическим приводом. Механизм поворота стрелы экскаватора погрузчика. Экскаватор эо-3322а схема прямая лопата. Гидравлическая схема экскаватора «обратная лопата».
Экскаватор эо-3123 схема. Принципиальная схема экскаватора с гидравлическим приводом. Механизм поворота стрелы экскаватора погрузчика. Экскаватор эо-3322а схема прямая лопата. Гидравлическая схема экскаватора «обратная лопата».
Эо 5123 одноковшовый экскаватор. Рабочий цикл одноковшового экскаватора. Экскаватор эо 4121 чертеж. Экскаватор с гидравлическим приводом. Принцип работы экскаватора.
Эо 5123 одноковшовый экскаватор. Рабочий цикл одноковшового экскаватора. Экскаватор эо 4121 чертеж. Экскаватор с гидравлическим приводом. Принцип работы экскаватора.
Электрическая схема одноковшовых экскаваторов. Одноковшовый экскаватор схема. Принцип работы экскаватора. Принцип работы экскаватора. Кинематическая схема одноковшового экскаватора.
Электрическая схема одноковшовых экскаваторов. Одноковшовый экскаватор схема. Принцип работы экскаватора. Принцип работы экскаватора. Кинематическая схема одноковшового экскаватора.
Гидропривод экскаватора схема и принцип действия. Принцип работы экскаватора. Экскаватор эо-5122 схема. Принцип работы экскаватора. Принцип работы экскаватора.
Гидропривод экскаватора схема и принцип действия. Принцип работы экскаватора. Экскаватор эо-5122 схема. Принцип работы экскаватора. Принцип работы экскаватора.
Одноковшовый погрузчик диггер картинки. Гидравлическая схема гусеничного одноковшового экскаватора. Механизм поворота платформы экскаватора. Устройство экскаватора гидравлического на гусеничном ходу. Одноковшовые экскаваторы прямая и обратная лопаты.
Одноковшовый погрузчик диггер картинки. Гидравлическая схема гусеничного одноковшового экскаватора. Механизм поворота платформы экскаватора. Устройство экскаватора гидравлического на гусеничном ходу. Одноковшовые экскаваторы прямая и обратная лопаты.
Экскаватор с гидроножницами чертеж. Схема забоя экскаватора эо-5221. Экскаватор одноковшовый «обратная лопата»эо-3121. Принцип работы экскаватора. Схема одноковшового экскаватора с обратной лопатой.
Экскаватор с гидроножницами чертеж. Схема забоя экскаватора эо-5221. Экскаватор одноковшовый «обратная лопата»эо-3121. Принцип работы экскаватора. Схема одноковшового экскаватора с обратной лопатой.
Принцип работы экскаватора. Устройство экскаватора гидравлического на гусеничном ходу. Принцип работы экскаватора. Принцип работы экскаватора. Схема гидропривода одноковшового экскаватора.
Принцип работы экскаватора. Устройство экскаватора гидравлического на гусеничном ходу. Принцип работы экскаватора. Принцип работы экскаватора. Схема гидропривода одноковшового экскаватора.
Одноковшовый э-1252 с оборудованием обратная лопата схема. Схема разработки траншеи одноковшовым экскаватором. Эо-4121а чертеж. Схема разработки котлована экскаватором обратная лопата. Экскаватор обратная лопата эо-3122.
Одноковшовый э-1252 с оборудованием обратная лопата схема. Схема разработки траншеи одноковшовым экскаватором. Эо-4121а чертеж. Схема разработки котлована экскаватором обратная лопата. Экскаватор обратная лопата эо-3122.
Принцип работы экскаватора. Экскаватор драглайн и обратная лопата. Гидравлический экскаватор с обратной лопатой. Экскаватор гидравлический одноковшовый обратная лопата. Принцип работы экскаватора.
Принцип работы экскаватора. Экскаватор драглайн и обратная лопата. Гидравлический экскаватор с обратной лопатой. Экскаватор гидравлический одноковшовый обратная лопата. Принцип работы экскаватора.
Схема гидропривода одноковшового экскаватора. Экскаваторами драглайн или обратная лопата. Одноковшовые экскаваторы прямая и обратная лопаты. Схема одноковшового экскаватора с обратной лопатой. Схема полноповоротного одноковшовые экскаватора.
Схема гидропривода одноковшового экскаватора. Экскаваторами драглайн или обратная лопата. Одноковшовые экскаваторы прямая и обратная лопаты. Схема одноковшового экскаватора с обратной лопатой. Схема полноповоротного одноковшовые экскаватора.
Принцип работы экскаватора. Схема одноковшового экскаватора с обратной лопатой. Принцип работы экскаватора. Полноповоротный гидравлический экскаватор схема. Эо-4121а чертеж.
Принцип работы экскаватора. Схема одноковшового экскаватора с обратной лопатой. Принцип работы экскаватора. Полноповоротный гидравлический экскаватор схема. Эо-4121а чертеж.
Принципиальная схема экскаватора с гидравлическим приводом. Принцип работы экскаватора. Одноковшовый погрузчик диггер картинки. Схема гидропривода одноковшового экскаватора. Эо-3127а экскаватор обратная лопата.
Принципиальная схема экскаватора с гидравлическим приводом. Принцип работы экскаватора. Одноковшовый погрузчик диггер картинки. Схема гидропривода одноковшового экскаватора. Эо-3127а экскаватор обратная лопата.