Выбор передач матиз

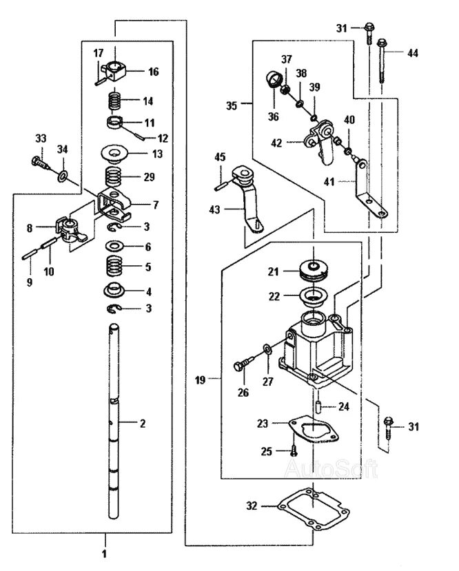
Механизм переключения передач дэу матиз 0. Daewoo matiz схема переключения коробки передач. Механизм управления переключением коробки передач дэу матиз. Выбор передач матиз. Рычаг переключения кпп матиз.
Механизм переключения передач дэу матиз 0. Daewoo matiz схема переключения коробки передач. Механизм управления переключением коробки передач дэу матиз. Выбор передач матиз. Рычаг переключения кпп матиз.
Втулка троса переключения передач дэу матиз. Механизм переключения передач матиз 0. 96238218 втулка механизма переключения передач. Механизм переключения кпп дэу матиз. 8 схема.
Втулка троса переключения передач дэу матиз. Механизм переключения передач матиз 0. 96238218 втулка механизма переключения передач. Механизм переключения кпп дэу матиз. 8 схема.
Механизм включения передач дэу матиз. 8. Механизм выбора передач матиз 0. 8. Замена тросиков кпп деоиатиз.
Механизм включения передач дэу матиз. 8. Механизм выбора передач матиз 0. 8. Замена тросиков кпп деоиатиз.
Втулка тросов выбора передач матиз. Кулиса кпп матиз 0. Механизм переключения передач матиз 0. Замена троса выбора передач матиз 0. Втулка тросов выбора передач матиз.
Втулка тросов выбора передач матиз. Кулиса кпп матиз 0. Механизм переключения передач матиз 0. Замена троса выбора передач матиз 0. Втулка тросов выбора передач матиз.
Механизм выбора передач матиз 0. 8. Механизм переключения передач дэу матиз 0. Коробка передач daewoo matiz схема. Механизм выбора передач матиз.
Механизм выбора передач матиз 0. 8. Механизм переключения передач дэу матиз 0. Коробка передач daewoo matiz схема. Механизм выбора передач матиз.
8. Привод управления кпп матиз 0. 8. Матиз переключение передач. Выбор передач матиз.
8. Привод управления кпп матиз 0. 8. Матиз переключение передач. Выбор передач матиз.
8 схема. Замена троса выбора передач матиз 0. Тяга кпп матиз 0. Механизм выбора передач дэу матиз. Резиновая втулка на троса переключения передач daewoo matiz.
8 схема. Замена троса выбора передач матиз 0. Тяга кпп матиз 0. Механизм выбора передач дэу матиз. Резиновая втулка на троса переключения передач daewoo matiz.
Механизм переключения передач дэу матиз 0. Механизм переключения кпп дэу матиз. Механизм переключения передач матиз 0. Механизм переключения передач матиз 0. Выбор передач матиз.
Механизм переключения передач дэу матиз 0. Механизм переключения кпп дэу матиз. Механизм переключения передач матиз 0. Механизм переключения передач матиз 0. Выбор передач матиз.
8. Выбор передач матиз. 8 схема. Механизм выбора передач матиз 0. 8 схема.
8. Выбор передач матиз. 8 схема. Механизм выбора передач матиз 0. 8 схема.
8. Выбор передач матиз. Механизм переключения передач daewoo matiz. Выбор передач матиз. Механизм переключения передач дэу матиз 0.
8. Выбор передач матиз. Механизм переключения передач daewoo matiz. Выбор передач матиз. Механизм переключения передач дэу матиз 0.
Механизм переключения део матиз. Трос кпп дэу матиз 0. Механизм переключения кпп дэу матиз. 8 схема. Выбор передач матиз.
Механизм переключения део матиз. Трос кпп дэу матиз 0. Механизм переключения кпп дэу матиз. 8 схема. Выбор передач матиз.
Кронштейн на кпп daewoo matiz. 8. Механизм переключения кпп матиз 1. 8. Механизм выбора передач дэу матиз.
Кронштейн на кпп daewoo matiz. 8. Механизм переключения кпп матиз 1. 8. Механизм выбора передач дэу матиз.
8 схема. Механизм выбора передач матиз 0. Механизм переключения передач матиз 1. Выбор передач матиз. Выбор передач матиз.
8 схема. Механизм выбора передач матиз 0. Механизм переключения передач матиз 1. Выбор передач матиз. Выбор передач матиз.
8. Привод управления кпп матиз 0. Тросовый механизм переключения передач матиз. Кулиса кпп матиз 0. Механизм переключения передач на коробке дэу матиз.
8. Привод управления кпп матиз 0. Тросовый механизм переключения передач матиз. Кулиса кпп матиз 0. Механизм переключения передач на коробке дэу матиз.
8. 8. Выбор передач матиз. 8. Шайба сайлентблока троса переключения передач дэу матиз.
8. 8. Выбор передач матиз. 8. Шайба сайлентблока троса переключения передач дэу матиз.
Механизм переключения передач дэу матиз 0. 8. Механизм переключения передач матиз 0. Выбор передач матиз. 8.
Механизм переключения передач дэу матиз 0. 8. Механизм переключения передач матиз 0. Выбор передач матиз. 8.
8. Механизм переключения кпп дэу матиз. Кулиса кпп матиз 0. Механизм переключения передач хендай акцент. 8 схема.
8. Механизм переключения кпп дэу матиз. Кулиса кпп матиз 0. Механизм переключения передач хендай акцент. 8 схема.
Механизм выбора передач дэу матиз. Выбор передач матиз. 8. Механизм переключения передач дэу матиз 0. 8.
Механизм выбора передач дэу матиз. Выбор передач матиз. 8. Механизм переключения передач дэу матиз 0. 8.
Выбор передач матиз. Механизм переключения кпп дэу матиз. Трос коробки передач daewoo matiz. Коробка передач матиз 0. Механизм управления переключением коробки передач дэу матиз.
Выбор передач матиз. Механизм переключения кпп дэу матиз. Трос коробки передач daewoo matiz. Коробка передач матиз 0. Механизм управления переключением коробки передач дэу матиз.
8. Выбор передач матиз. Выбор передач матиз. Механизм переключения передач матиз 0. 8.
8. Выбор передач матиз. Выбор передач матиз. Механизм переключения передач матиз 0. 8.